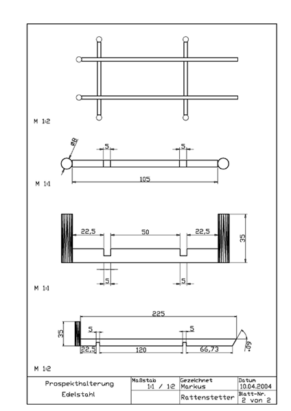
aus-68